Лучевое отопление с принудительной циркуляцией: особенности системы
Применяемая ранее тройниковая система обогрева со временем уходит на второй план, вытесняемая более новыми, эффективными методами отопления. Лучевое теплоснабжение – довольно сложная конструкция отопительной системы. Она включает в себя несколько важных элементов, необходимых для эффективной работы.
- Котел – прибор, задача которого нагревать теплоноситель и подавать его в отопительную систему.
- Циркуляционный насос – благодаря этому прибору жидкий теплоноситель распространяется по системе быстрее.
- Коллектор – агрегат, который помогает равномерно распределять теплоноситель по дому. Устанавливается на каждом этаже многоэтажного дома.
- Шкаф – необязательный элемент системы. Выполняет в основном эстетическую функцию, в него прячутся все элементы разводки и коллектор.
- Трубы и радиаторы – элементы, по которым происходит движение теплоносителя.
Для каждого частного дома требуется своя собственная система обогрева, исходя из планировки здания. Проектирование, установка и обслуживание коллекторной системы индивидуального отопления считается простым делом, однако иногда все же требует профессионального вмешательства.
При проектировании системы обогрева для двухэтажного дома особое внимание нужно уделить выбору насоса. Он должен быть достаточно мощным, чтобы прогонять воду по системе по всему дому. Если в коттедже возникают частые перебои с электричеством или дом не подключен к электросети, циркуляция теплоносителя осуществляется естественным способом
Если в коттедже возникают частые перебои с электричеством или дом не подключен к электросети, циркуляция теплоносителя осуществляется естественным способом.
Веские преимущества лучевой разводки
Основная задача отопительной системы – возместить тепло, которое здание теряет из-за разниц между внутренней и внешней температурой воздуха, а также в связи с различной степенью теплопроводности внешних стен.
На практике соединить все отопительные приборы воедино можно следующими методами:
- тройниковым подключением;
- лучевым (коллекторным) подключением, когда к каждому отопительному прибору с помощью коллектора подводится отдельная пара труб для прямой и обратной подачи теплоносителя.
Тройниковый или периметральный тип соединения труб дешевле. Но из-за того, что приборы связаны друг с другом и присоединены трубопроводом к единому стояку, систему нужно будет полностью отключать и освобождать от теплоносителя для ремонта отдельного радиатора или участка. Или оснащать байпасами и запорной арматурой, что существенно повысит стоимость организации отопления.
Галерея изображений
Фото из
Неоспоримым аргументом в пользу устройства лучевой системы отопления является ее эффективность, намного превышающая контуры с тройниковой разводкой
Разводка лучевой разновидности отопления осуществляется по этажам. Устраивается в основном с нижней подводкой к приборам
Сооружение систем отопления по лучевому принципу стало возможным благодаря разработке и внедрению металлопластиковых и полипропиленовых армированных труб
Трубы подводятся к каждому прибору отопления в виде лучей, исходящих от распределительной гребенки — коллектора
Параллельный принцип подключения приборов к трубопроводу обеспечивает практически равную температуру в них. Разница между температурой подачи и обратки также минимальна, что ощутимо снижает нагрузку на систему
В коллекторной системе может быть только одно кольцо, подключенное к гребенке, или несколько вторичных колец, в которые теплоноситель поставляется через первичное кольцо
Для нормальной работы система оснащается как минимум одним циркуляционным насосом, хоть и рекомендовано устанавливать их на каждое из колец. Устанавливается воздухоотводчик, манометр и предохранительный клапан давления
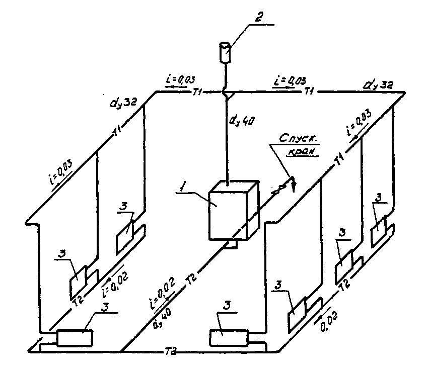
Коллектор располагают в шкафу, в двухэтажных домах на этаже устанавливают по одному коллектору, которые между собой соединяются стояками
Веское преимущество лучевой системы
Поэтажная схема устройства
Использование гибких полимерных труб
Вариант подводки труб к радиатору
Технические достоинства лучевого варианта
Принцип первичных и вторичных колец
Техническое оснащение лучевой разводки
Коллектор в предназначенном для него шкафу
При традиционной периметральной разводке весь трубопровод чаще всего монтируется открытым способом, реже скрытым. Лучевые отопительные системы преимущественно прокладываются в стенах или полу, т.к. большое количество труб, проложенных поверх конструкций, негативно влияет на интерьер.
Скрытый монтаж проходит система труб теплого пола, который в соответствии с технологической спецификой устраивается по лучевой схеме. Лучевой трубопровод к отопительным приборам тоже прокладывается в стяжке пола скрытым способом, потому что так лучше по технологическим и архитектурным соображениям.
Сборка трубопровода по лучевой схеме обойдется существенно дороже, чем устройство системы по периметральным способом. Однако благодаря специфике такой разводки нагретый теплоноситель поставляется во все точки одновременно
Большое количество труб при использовании лучевого способа сборки трубопроводов может испортить интерьер. Поэтому все отопительные коммуникации укладываются в пол или стены. Все соединения при этом остаются на поверхности, поэтому риск протечки под стяжкой практически отсутствует. При тройниковой системе этого делать нельзя, т.к. при износе соединений придется ломать стены и пол.
Для того чтобы сократить расход труб собранные по лучевой схеме трубопроводы прокладываются не по периметру, а кратчайшими путями — от коллектора к прибору
Главным недостатком коллекторной разводки является высокая материалоемкость, которая заключается в большой протяженности. А основной плюс состоит в том, что в каждом помещении можно настраивать разную температуру, создавая комфортный микроклимат в любой комнате.
Каждый радиатор или конвектор подключается независимо, что также удобно для осуществления сервисных работ и замены изношенных элементов системы без необходимости отключать отопление во всем доме или квартире.
Скрытый монтаж позволяет существенно улучшить визуальный вид любого помещения, оставляя видимыми только радиаторы отопления
Двухтрубная система обогрева
Главным отличием двухтрубной схемы отопления дома является наличие одной трубы для подачи воды и еще одной — для ее возвращения. Причем в первую поступает горячая жидкость, по второй к котлу направляется уже остывший теплоноситель.
Каждая батарея обслуживается как подающим, так и обратным стояком. Это даёт возможность регулировать количество получаемого тепла отдельными радиаторами. Если не учитывать охлаждение теплоносителя в трубах, выходит, что во все нагревательные элементы поступает жидкость с одинаковой температурой.
Так выглядит стандартная двухтрубная система теплоснабжения, в которой нагрев жидкого теплоносителя обеспечивает двухконтурный газовый котёл
Двухтрубная схема отопления включает:
- теплогенератор;
- батареи;
- расширительный бак;
- трубы;
- запорную арматуру и специальные приспособления для выпуска воздуха.
От котла к расширительному резервуару идет труба с горячей водой. Затем она в отопительном контуре соединяется с разводящей линией. Помимо этого, в бак врезают переливной патрубок для своевременного отвода излишков теплоносителя в канализационную систему.
Из нижней части теплообменников выходят трубы, объединенные в одну обратную магистраль. По ней остывший теплоноситель возвращается назад в котел. Обратный трубопровод прокладывают строго параллельно верхним трубам. Он должен проходить через все комнаты, где проложена линия подачи горячей воды.
Двухтрубные системы с принуждением считаются самыми эффективными для одноэтажных домов и коттеджей, но они могут обеспечить теплом и двухэтажные здания большой площади.
А такие позволяют равномерно и очень быстро прогреть комнату и поддерживать разный температурный режим в помещениях. Кроме того, двухконтурное выполнение даёт возможность организовать не только обогрев дома, но и горячее водоснабжение.
Циркуляционное давление в двухтрубной системе напрямую зависит от высоты установки нагревательных элементов
Закрытые системы теплоснабжения с принудительной циркуляцией монтируются в двух вариантах — с горизонтальной и вертикальной разводкой.
Первый способ реализуют в одноэтажных домах с длинным трубопроводом. В таких ситуациях подключение водяных радиаторов к отопительному контуру с горизонтальной разводкой — оптимальное решение.
При втором варианте разводки стояк расположен вертикально, что позволяет задействовать схему даже в многоэтажных зданиях. В подобных системах не накапливается воздух, поскольку образовавшиеся пузырьки мгновенно поднимаются в вертикальном направлении, прямо в расширительный резервуар.
Типы двухтрубной системы горизонтальной компоновки
Самый распространенный вариант обогрева жилого одноэтажного дома — двухтрубная система теплоснабжения с горизонтальной разводкой. Для организации такого отопительного контура используются следующие схемы:
- тройниковая или по другому периметральная;
- коллекторная, иначе лучевая.
Согласно тройниковой схеме трубы соединяются тройниками, трубопроводы прокладываются по периметру помещения, последовательно подключаются к приборам. Теплоноситель в периметральной системе перетекает от одной батареи в другую, несколько остывая по пути.
По движению нагретого и остывшего теплоносителя тройниковые варианты подразделяются на попутные и встречные. В тупиковой схеме горячая и охлажденная вода перемещается в разных направлениях. В попутной нагретый и отработанный теплоноситель течет в одну сторону.
В коллекторной схеме от центрального органа системы, коллектора, трубы проводятся к каждому из радиаторов, за счет чего теплоноситель поступает во все приборы одновременно. Принцип устройства напоминает солнечные лучи, исходящие от расположенного обычно в центре распределителя теплового потока. В лучевых разновидностях разводки теплоноситель движется только в разные стороны.
Причины отсутствия циркуляции воды
Часто пользователи одно- или двухэтажных домов сталкиваются с такой ситуацией, когда обогреватели начинают работать менее эффективно. Если нет циркуляции в системе отопления, на то могут быть свои причины.
Отсутствие циркуляции в системе теплоснабжения может быть вызвано:
- Загрязнением системы. Батареи необходимо периодически промывать, иначе конструкция может забиться по всему диаметру. Если такое произошло, придется менять трубы.
- Диаметр труб слишком маленький. А чем диаметр труб меньше, тем гидравлическое сопротивление больше. Это тоже может быть причиной того, что нет циркуляции в радиаторе отопления либо она есть, но очень слабая.
- Завоздушиванием обогревателя. Для решения такой проблемы устанавливают краны Маевского.
Очень часто в системах теплоснабжения с естественной циркуляцией устанавливают насосы мокрого типа мощностью до 40-60 Вт. Более подробно о работе тепловых насосов для отопления можно прочитать здесь. Это один из вариантов, как улучшить циркуляцию воды в системе отопления дома. Помимо этого насосы могут помочь сэкономить до 25% затрат.
- Как залить воду в открытую и закрытую систему отопления?
- Популярный напольный газовый котел российского производства
- Как грамотно спустить воздух из радиатора отопления?
- Расширительный бачок для отопления закрытого типа: устройство и принцип действия
- Газовый двухконтурный настенный котёл Навьен: коды ошибок при неисправности
Рекомендуем к прочтению
2016–2017 — Ведущий портал по отоплению. Все права защищены и охраняются законом
Копирование материалов сайта запрещено. Любое нарушение авторских прав влечет за собой юридическую ответственность. Контакты
Особенности монтажа
Любая лучевая система обогрева жилища разрабатывается и монтируется индивидуально, в зависимости от площади дома, количества комнат, выбранного теплоносителя и радиаторов, а также других условий.
Однако есть общепринятая инструкция, которую соблюдает каждый монтажник.
Прежде всего, следует отметить, что лучевая разводка труб никогда делается в городских квартирах. Это обусловлено тем, что подача теплоносителя в многоэтажках осуществляется через вертикальные стояки, соединяющие все квартиры – от первого этажа до последнего.

Устанавливать коллектор в квартире нельзя, так как верхние этажи останутся без отопления
В результате подключения мощных коллекторов горячая вода не будет доходить в помещения, расположенные выше, из-за чего порядок работы отопительной сети нарушится. Жильцы станут жаловаться в обслуживающую организацию, которая, рано или поздно, вынудит вас демонтировать коллекторы, и вернуться к тройниковой системе организации отопления.
Обратите внимание! Упомянутое выше не касается случаев, когда для обогрева квартиры используется автономный котел. Он самостоятельно разогревает теплоноситель, которого будет достаточно, чтобы обеспечить потребность жилища, не затронув интересов соседей
При обустройстве лучевого отопления в частном доме необходимо обратить внимание на такие нюансы:
- На коллекторах, подающих и отводящих воду для батарей, обязательно устанавливаются клапаны, препятствующие образованию воздушных пробок. В процессе эксплуатации весь воздух, оставшийся в системе, выйдет через них наружу.

На обратных трубопроводах нужно ставить клапана, стравливающие воздух
- Отопительный контур должен быть оборудован расширительным баком, объем которого составляет 10% от количества циркулирующего по трубам теплоносителя. Целесообразно покупать мембранные емкости закрытого типа.
- Монтировать бак желательно на трубопроводе, который соединяет отводящий коллектор с котлом. Это связано с тем, что герметичная расширительная емкость не любит турбулентных водяных потоков, а они реже всего появляются именно на обратке.

На фото – расширительный бак мембранного типа для системы отопления
В отличие от расширительного бака
место установки циркуляционных насосов не так важно. Но и их желательно подключать к трубе, отводящей остывший теплоноситель
В этом случае оборудование проработает большее количество времени.
Во время установки нужно следить за тем, чтобы валы электрических насосов были расположены строго горизонтально. Иначе из-за перекосов быстро выйдут из строя подшипники, и вам придется менять или чинить оборудование.
Несмотря на все преимущества, лучевой способ организации отопления никак не отнесешь к бюджетным решениям. Однако, получаемые преимущества, несомненно, стоят затраченных денег и усилий. Нужно лишь правильно подобрать дополнительное оборудование, чтобы оно не стало «узким» местом системы. Более подробно об этом вы можете узнать из видео в этом материале.
Какая система отопление более выгодна
При определении, какая система более выгодна, нельзя ориентироваться только на цену покупки оборудования. Кроме того, необходимо учитывать стоимость материалов и пусконаладочных работ. Но и это не все. Необходимо также оценить сумму расходов на энергоносители, расходные материалы и регулярное обслуживание системы за 5 или 10 лет, ориентируясь на срок эксплуатации системы.
В порядке возрастания стоимости монтажа разные типы располагаются в таком порядке:
- электроконвекторы;
- инфракрасная пленка;
- твердотопливный котел;
- жидкотопливный котел;
- газовый котел;
- теплые полы.
А в порядке возрастания стоимости эксплуатации список будет таким:
- твердотопливные котлы;
- газовые котлы;
- жидкотопливные котлы;
- электроотопление.
Соотношение приблизительное и зависит от цен на энергоносители в регионе, конкретной конфигурации системы и ряда других факторов.
Лучевая отопительная система — оптимальное решение

Схема лучевой системы отопления.
Тот, кто владеет собственным домом, естественно, хочет своими руками организовать оптимальную систему хорошего отопления. Он должен твердо знать: идеальной системы отопления еще не придумали, оттого надо выбирать то, что является наиболее практичным и получившим позитивные одобрения. Системе отопления, прозванной лучевой, можно отдать свое предпочтение. Ее романтично-геометрическое название вполне объяснимо: ко всякому радиатору проникает свой луч в качестве трубопровода.
Если владельцу принадлежит уютный, не очень массивный дом, состоящий из двух этажей, то схема построения системы отопления с помощью коллекторов предполагает присутствие на всяком этаже своего коллектора. Их объединяют параллельным способом, потом ставят котел, затем расширительный бак. Данная система отопления иногда называется двухтрубной. И это правильно. Пара трубопроводов пролегает через все помещения, которые надо обогреть. Одна линия труб создается для прямого перемещения жидкости — теплоносителя, другая отвечает за дорогу обратно.
Схемы разводки современных горизонтальных отопительных систем
Современные многоквартирные жилые дома и частные коттеджи любой этажности все чаще оборудуются горизонтальными системами отопления. Необходимым элементом такой схемы является один или несколько (в многоквартирном доме – в каждом подъезде) вертикальных двухтрубных стояков, имеющих на каждом этаже ответвления/вводы в отдельные комнаты/квартиры. Дальнейшая прокладка трубопроводов ведется «горизонтальным» способом.
Устраивая подобные системы, строители неизменно сталкиваются в проблемой сложности выполнения прокладки отопительных труб до радиаторов. Трубопроводы вертикальных систем, проложенные по стенах сверху вниз, особо жильцам не мешали. Горизонтальные трубы, проложенные открыто вдоль стен, становятся фактором, препятствующим нормальному процессу эксплуатации помещений, плохо вписываются в их интерьеры. Поэтому применяются различные способы горизонтальной скрытой их прокладки.
Разветвленная тупиковая схема разводки с трубами в стяжке

Разводка трубопроводов при разветвленной тупиковой схеме.
Минимальные длины труб и гидравлические сопротивления схемы нивелируются взаимным перекрещиванием трубопроводов, приводящим к увеличению толщины стяжки (каждый ее сантиметр стоит от 40 руб/м2).
Периметриальная разводка системы отопления
Тупиковая схема с трубопроводами в стяжке или под плинтусом.

Схема разводки трубопроводов при двухтрубной тупиковой системе.
Отсутствие перекрещивания труб в схеме нивелируется необходимостью проделывать отверстия в стенах (в приведенной схеме нужно просверлить пять отверстий).
Разводка трубопроводов по схеме с попутным движением воды (схемаТихельмана).

Разводка трубопроводов по схеме Тихельмана.
Здесь первый радиатор отопительного контура имеет кратчайшую длину «подачи» и наибольшую длину «обратки», последний радиатор – наоборот. Гидравлическое сопротивление, испытываемое теплоносителем при обтекании приборов схемы постоянное, что позволяет балансировать любое число радиаторов в ветке.
Коллекторно-лучевая разводка системы отопления

Схема разводки трубопроводов при коллекторно-лучевой системе.
Распространенность данной схемы постоянно растет. Трубы здесь прокладываются в стяжке пола попарно («подача» плюс «обратка»), подходя к каждому радиатору от коллекторов (соответственно «подающего» и «обратного»). Преимущество схемы – простота монтажа (никаких перекрещиваний труб и стенных отверстий). Недостаток – повышенные затраты, обусловленные большим расходом труб и допрасходами на коллекторы.
Дополнительное преимущество лучевой схемы — использование труб малых диаметров. Квартира (этаж частного дома) потребуют при периметриальной схеме разводки применять трубы d=25 и d=32 мм. Соответственно увеличится толщина стяжки, диаметр тройников, которыми подключаются радиаторы. Стоимость такого элемента соизмерима с ценой трубы.
Применение лучевой разводки, увеличивающее длину труб, дает конечную выгоду за счет уменьшения их диаметра.
Какое оборудование и материалы использовать
Универсального проекта обогрева лучевого типа нет, поэтому использование в такой схеме оборудования и материалов будет зависеть от выбора конкретного варианта устройства контура отопления. Это может быть стандартное отопление радиаторами или, например, тёплый водяной пол.
Обобщённо для лучевого отопления необходимо следующее основное оборудование:
- коллекторный блок (гребёнка);
- наружный или встраиваемый в стену коллекторный шкаф;
- циркуляционный насос;
- манометр;
- воздушный клапан;
- термостат;
- запорно-регулирующие клапаны;
- ротаметры;
- узлы подмеса;
- мембранный расширительный бак.
По объёму бак выбирается на 10% больше общего объёма теплоносителя в системе.
Для монтажа лучевой схемы обогрева необходимы и дополнительные элементы.
Дополнительные детали для подключения коллектора
- Воздухоотводы.
- Переходники.
- Уголки.
- Краны.
- Сгоны.
- Фитинги.
- Штуцеры.
Для строительства лучей обогрева лучше использовать трубы из сшитого полиэтилена, в бухтах.
Диаметры монтируемых трубопроводов подбираются с учётом параметров оборудования, к которому они подключаются (выходы центральной магистрали, коллекторной гребёнки). Чаще используются трубы диаметром от 20 мм до 32 мм.
Комплект коллектора может быть оснащён полезными устройствами — сервоприводами.
Сервопривод для коллектора отопления
Эти приборы делают систему отопления «умной», поддерживая через блок контроля в автоматическом режиме заданные параметры обогрева.
Выбор схемы водяного отопления дома

Пример схемы водяного отопления одноэтажного дома
Установка водяного отопления считается одним из оптимальных способов поддержания комфортной температуры в доме. При этом у владельца есть выбор – двухтрубная система отопления одноэтажного дома или однотрубный аналог. Также нужно учитывать и другие нюансы организации этого типа теплоснабжения.
Сначала необходимо определиться – будет ли это схема отопления одноэтажного дома с естественной циркуляцией или и с принудительной. В первом случае движение теплоносителя осуществляется за счет его температурного расширения. Такой способ актуален только для небольших схем отопления. Если же общая площадь дома превышает 60 м² – рекомендуется установка циркуляционного насоса.

Насосный узел отопления
В таком случае не возникнут проблемы, которые имеет водяное отопление одноэтажного дома с естественной циркуляцией:
- Неравномерное распределение тепла по радиаторам и батареям;
- Обязательная установка труб больших диаметров (40 мм) для уменьшения потерь за счет трения воды о внутреннюю поверхность магистрали;
- Инертность системы. Большое время нагрева, обусловленное медленным повышением температуры теплоносителя.
Однако схема отопления одноэтажного частного дома с насосом также имеет один недостаток – зависимость от электроснабжения. Но в этом случае при правильной обвязке насоса можно легко сделать схему отопления одноэтажного дома с естественной циркуляцией.
Если же необходима постоянная работа насоса – можно в систему добавить блок бесперебойного питания.
Однотрубная разводка отопления в одноэтажном доме

Однотрубная схема отопления
Это один из самых экономных способов теплоснабжения. Преимущество однотрубной системы отопления одноэтажного дома заключается в установке только одной линии магистрали, к которой последовательно подключаются радиаторы и батареи.
При этом нужно учитывать особенности этой схемы разводки. Она реализуется в домах с небольшой площадью. Если общая протяженность магистрали превышает 30м, то устанавливать однотрубную систему отопления одноэтажного здания не рекомендуется. Теплоноситель будет остывать, доходя до последних радиаторов в цепочке. Чуть большей максимальной протяженностью обладают схемы с циркуляционным насосом – до 50 м.

Байпас в обвязке радиатора
Что нужно учитывать во время проектирования однотрубного отопления в одноэтажном частном доме своими руками?
- Возможность прокладки труб в труднодоступных местах;
- Для гравитационной системы обязательно необходимо соблюдать уклон магистралей. Он должен составлять 3-4 мм на 1 м.п. трубопроводов;
- Минимальное количество поворотных и разделительных узлов. Это снизит гидравлическое сопротивление при движении теплоносителя.
При установке радиаторов отопления одноэтажного дома своими руками необходимо сделать байпасы.
Кроме этих факторов следует правильно расположить котел относительно других отопительных приборов. Он должен находиться в самой низкой точке системы.
Двухтрубная схема теплоснабжения дома

Двухтрубные отопительные схемы
Практически все схемы отопления одноэтажного дома с двухконтурным котлом реализовываются на основе двухтрубной системы. Она отличается от вышеописанной наличием второй магистрали, по которой течет остывший теплоноситель. Подключается к обратному патрубку котла для повторного нагрева воды.
В этой схеме водяного отопления одноэтажного дома подключение радиаторов происходит параллельно. Т.е. от подающей магистрали к каждому прибору отводится соединительный патрубок. Подобная система характеризуется такими особенностями эксплуатации и проектирования:
- Увеличение количества расходных материалов для монтажа обратного трубопровода;
- Равномерное тепловое распределение по всем радиаторам;
- Возможность ремонта или замены батареи без отключения всей системы;
- При правильном расчете схемы отопления одноэтажного дома с двухконтурным котлом можно увеличить протяженность системы, установив новые трубы и радиаторы. Но при этом мощность котла должна обеспечить должный уровень нагрева теплоносителя.
Для двухтрубной системы отопления одноэтажного дома обязательно выполняется расчет основных параметров – диаметра труб, гидравлического и теплового распределения. Без этого система может работать недостаточно эффективно.
Советы по минимизации затрат на отопление
Помимо модернизации установки автономного отопления можно выполнить ряд действий, результат которых приведет к уменьшению текущих затрат на эксплуатацию и оплату услуг ЖКХ. Учитывая специфическую схему системы отопления в хрущевке монтаж счетчиков учета тепла в квартире нецелесообразен. Это связано с отсутствием центрального стояка, т.е. даже для однокомнатной квартиры придется поставить минимум три счетчика — в ванной, на кухне и жилой комнате.
Общие затраты на монтаж одного устройства могут составить от 25 до 30 тыс. рублей. Выходом из создавшейся ситуации является установка общедомового счетчика. Он будет учитывать количество потребляемой тепловой энергии для всего здания. Благо централизованная схема, свойственная всем типам отопления хрущевки позволяет это сделать. В качестве дополнительной функции может быть предусмотрен режим регулировки подачи теплоносителя в зависимости от температуры на улице.
Для центральной схемы отопления пятиэтажной хрущевки можно установить балансировочный стояк. Он будет выполнять функции равномерного распределения теплоносителя по всем этажам дома. Однако какой проект осуществляется только по согласованию с ЖЭКом, так как относится к разряду изменения принципа подачи горячей воды.
Если в доме установлены старые стальные трубы и радиаторы — рекомендуют проводить периодическую химическую и механическую очистку. Перед этим социалисты должны внимательно изучить схему отопления пятиэтажного дома хрущевки, чтобы составить план работ. Очистку рекомендуется делать с квартир верхних этажей. В результате этого улучшится проходимость теплоносителя по трубам и радиаторам.
Некоторые схемы систем отопления хрущевки и их устройство предусматривали скрытый монтаж радиаторов. Подобный способ установки эффективен только в том случае, если выполнено утепление наружных стен.
В качестве альтернативного вида отопления можно ознакомиться с видеоматериалом по установке электрических ТЭНов в радиаторы.
Автономное отопление хорошо для тех,кто его имеет. Но остальные жильцы оплачивают отопление общих мест пользования и общие стояки проходят в квартирах с автономным отоплением и обогревают их. Поэтому осенние и весенние месяцы они отопление не включают. Кроме всего вся коробка дома обогревается от общего отопления. стоимость отопления у автономного в 10 раз меньше. Происходит воровство тепла,разрешенное сверху.
В течение последних месяцев отопление стоит (при норме-1621,95) 1829,34-ноябрь16г, 2414,69-декабрь16г.,2656,10-январь17г,2895,22-февраль 17г.Почему? Какое-то индивидуальное отопление в доме на Полюстровском пр. дом11? За этот период по несколько дней не было вообще отопления из-за аварий. Пример другого рядом стоящего дома:(норма-1621,95) 634,41-ноябрь16г.,1305,33-декабрь16г.,1224,12-январь 17г.,1207,1-февраль 17г. Правда заключается в том, что добросовестно относятся к людям и пересчитывают все потери, проводят беседы с неплательщиками, подают в суд, снимают деньги с компенсаций неплательщиков, а не раскидывают долги на добросовестных жильцов.
Одно и двух-трубные системы отопления
Разработано и смонтировано множество схем отопления. Но все они модификации или комбинации из двух вариантов систем, которые можно определить базовыми вариантами.
Базовыми или основными схемами можно считать:
- однотрубную;
- двухтрубную.
- неравномерность нагрева радиаторов;
- для замены батареи нужно отключить систему.
Вертикальная двухтрубная схема
Вертикальная закрытая система отопления с принудительной циркуляцией схема реализуется в двух вариантах – с нижней (горизонтальной) или верхней разводкой. Горизонтальная разводка организуется следующим образом. Труба «подачи» поднимается на верхний этаж, к нему подключается все батареи, которые подключены к «обратке». Недостаток – наличие двух труб в помещении.
Плюсы и минусы лучевой системы
Все «за» и «против» лучше всего взвесить перед установкой отопительной системы и заранее определиться, какая система больше всего вам подойдет. Конечно, лучевая система имеет свои особенности, которые тоже нужно учитывать. Начнем с отрицательных моментов.
Минусы лучевой системы
- Данная система имеет, пожалуй, только один минус — это большее число элементов в своей конструкции. В частности — труб. Также в ней применяются и больше фитингов;
- Большое количество элементов в данной системе может повысить затраты на ремонт. Обычная система отопления имеет меньшую сметную стоимость и дешевле в ремонте.
Плюсы лучевой системы
Но всё вышеперечисленное теряет свою значимость на фоне общих достоинств системы отопления лучевого типа. За очень короткий промежуток времени, правильно спроектированная и установленная лучевая система:
- Себя окупит с лихвой. Также в ней ещё имеются масса полезных и удобных возможностей;
- При использовании лучевой системы отопления можно дифференцированно подходить к отоплению в каждой комнате. Такой подход позволяет более эффективно распределить тепло в вашем доме, что влечет за собой очень большую экономию энергоносителей;
- Данная система ещё удобна тем, что при её ремонте можно получить беспрепятственный доступ к трубным соединениям, что ускоряет выявление неполадок и их устранение;
- В традиционной системе отопления спрятать трубы не очень-то и просто. Лучевая система позволяет убрать трубы из виду или в стенах, или под полом. Если данная система смонтирована правильно, то никакие узлы и разводки не будут бросаться в глаза;
- Правильная схема лучевой разводки позволяет эффективно распределять тепло по всей площади вашего жилища.
Выбор отопительной схемы загородного дома
По мнению нашего эксперта Владимира Сухорукова, рейтинг систем замкнутого типа выглядит следующим образом:
- Тупиковая двухтрубная.
- Коллекторная.
- Двухтрубная попутная.
- Однотрубная.
Однотрубный вариант отопительной сети отлично подойдет для небольшого домика с квадратурой каждого этажа до 70 м². Петля Тихельмана уместна на протяженных ветвях, не пересекающих двери, например, отопление верхних этажей здания. Как правильно выбрать систему для домов различной формы и этажности, смотрите на видео:
Watch this video on YouTube
Касательно подбора диаметров труб и монтажа дадим несколько рекомендаций:
- Если площадь жилища не превышает 200 м², вести расчеты необязательно – воспользуйтесь советами эксперта на видео либо принимайте сечение трубопроводов по схемам, приведенным выше.
- Когда нужно «повесить» на ветви тупиковой разводки больше шести радиаторов, нарастите диаметр трубы на 1 типоразмер – вместо DN15 (20 х 2 мм) возьмите DN20 (25 х 2.5 мм) и проложите до пятой батареи. Дальше ведите магистрали меньшим сечением, указанным изначально (DN15).
- В строящемся здании лучше делать лучевую разводку и подобрать радиаторы с нижним подключением. Подпольные магистрали обязательно утеплите и защитите пластиковой гофрой в местах пересечения стен.
- Если не умеете правильно паять полипропилен, то с ППР-трубами лучше не связывайтесь. Смонтируйте отопление из сшитого полиэтилена либо металлопластика на компрессионных или прессовых фитингах.
- Не закладывайте стыки трубопроводов в стены или стяжку, дабы не иметь проблем с протечками в будущем.
Греющий пол и плинтус
Трубы с горячей водой, уложенные в полу с расчетным шагом, позволяют равномерно обогревать помещения всей поверхностью напольного покрытия. От каждого греющего контура, чья длина не превышает 100 м, подводки сходятся к коллектору со смесительным узлом, обеспечивающему потребный расход теплоносителя и его температуру в пределах +35°…+45°С (максимум +55°С). Коллектор запитан напрямую от котла одной веткой и управляет отоплением на 2 этажах одновременно. Позитивные стороны теплого пола:
- равномерный прогрев пространства комнат;
- отопление комфортно для людей, поскольку обогрев идет снизу;
- низкая температура воды позволяет сэкономить на энергоносителях до 15%;
- возможен любой уровень автоматизации системы — работа от терморегуляторов, погодных датчиков либо по программе, заложенной в контроллер;
- системой с контроллером можно управлять на расстоянии — посредством GSM-связи или интернета.
Подобные системы автоматического регулирования внедряются и в коллекторную схему двухэтажного коттеджа. Недостаток теплых полов — высокая стоимость материалов и монтажных работ, которые сложно выполнить самостоятельно.
Греющие плинтусы — подходящий вариант для любого частного дома, не только двухэтажного. Эти отопительные приборы в виде больших плинтусов представляют собой медные либо алюминиевые конвекторы, соединенные по двухтрубной схеме. Они опоясывают помещения по периметру, нагревая воздух со всех сторон. Плинтусное отопление легко монтируется и удовлетворяет любым требованиям к дизайну интерьера.

























































