Правила поверки газоанализаторов: периодичность и методика проведения работ

5 Средства поверки

5.1 При проведении поверки применяют средства, указанные в таблице 2.

Таблица 2 – Средства поверки

Номер пункта методики поверки

Наименование и тип основного или вспомогательного средства поверки обозначение нормативного документа, регламентирующего технические требования и (или) метрологические характеристики (MX) и основные технические характеристики средства поверки

9

Барометр-анероид М-67 по (2). Цена деления: 1 мм рт. ст.

Психрометр аспирационный М-34-М по (3). Диапазон измерений от 10 % до 100 %.

Термометр лабораторный ТЛ4 по ГОСТ 28498 Диапазон измерений от 0 °С до 50 °С. Цена деления: 0.1 °С.

3

Окончание таблицы 2

Номер пункта методики поверки

Наименование и тип основного или вспомогательного средства поверки, обозначение нормативного документа, регламентирующего технические требования и (или) метрологические характеристики (MX) и основные технические характеристики средства поверки

94

Рабочие эталоны 1-го или 2-го разряда по ГОСТ 8 578

– стандартные образцы состава газовых смесей в баллонах под давлением

– генераторы и установки для приготовления газо- и паровоздушных смесей

Отношение погрешности, с которой установлено содержание компонента в ГС, к пределу допускаемой основной погрешности СИ должно быть не более Метрологические характеристики ГС приведены в таблице 3

Воздух сжатый класса 0 по ГОСТ 17433

Секундомер СОСпр по (4)

Пределы допускаемой абсолютной погрешности * 0.2 с

Ротаметр типа РМ-А по ГОСТ 13045, кл точности 4

Редуктор баллонный кислородный одноступенчатый, например Б КО-50-4

Вентиль точной регулировки, например ВТР-1 (или ВТР-1-М160)

Диапазон рабочего давления от 0 до 150 кгс/см2, диаметр условного прохода 3 мм

Вольтметр цифровой универсальный, диапазон измерения силы постоянного тока до 2 А, силы переменного тока до 2 А, сопротивления постоянному току 2 ГОм, постоянного напряжения до 1000 В. переменного напряжения до 700 В

Трубка медицинская из ПВХ, диаметр условного прохода не менее 5 мм. толщина стенки не менее 1 мм

9.4.1

Трубка фторопластовая, диаметр условного прохода не менее 5 мм, толщи-на стенки не менее 1 мм

Тройник из стекла, ПВХ или фторопласта, диаметр условного прохода 6 мм

942 94 3

Камера климатическая любого типа, точность поддержания температуры ± 2 оС Диапазон поддержания температуры в камере должен обеспечивать воспроизведение значений температур, соответствующих нижнему и верхнему значению рабочих условий эксплуатации поверяемого СИ, а габариты камеры – размещение поверяемого СИ и вспомогательных устройств (при необходимости)

Примечания:

1    Должны применяться утвержденные типы стандартных образцов / средств измерений, зарегистрированные в Государственном реестре утвержденных типов стандартных образцов / средств измерений

2    Для СИ, имеющих цифровой выходной сигнал, выбор вторичного устройства для контроля цифрового выходного сигнала производится согласно ЭД изготовителя СИ

Таблица 3 – Метрологические характеристики ГС. используемых при no-верке СИ

Номер ГС

Содержание целевого компонента в ГС. % от верхнего предела измерений определяемого компонента

при поверке по определяемому компоненту

при поверке по поверочному компоненту-11

1

воздух

воздух

2

(50 ±10)

(50 ±10)

3

(00 ±10)

(901 10)

11 При содержании компонента (определяемого или поверочного) в ГС свыше 50 % НКПР в целях обеспечения безопасности следует использовать ГС состава «компонент – азот», если возможность замены воздушной среды на азотную предусмотрена в ЭД поверяемого средства измерений

2) коэффициент пересчета для поверочного компонента, установленный в ЭД для i-ой точки поверки (в общем случае для точек поверки 2 и 3 значения коэффициентов пе-ресчета для поверочного компонента могут отличаться)

5.2    Допускается применение других средств, не приведенных в таблице 2. класс точности и метрологические характеристик которых не хуже указанных.

5.3    Все средства поверки должны иметь действующие свидетельства о поверке (аттестации). ГС в баллонах под давлением – действующие паспорта (сертификаты), камера климатическая – действующее свидетельство об аттестации.

Техническое обслуживание системы контроля загазованности (сигнализаторы загазованности)

Техническое обслуживание системы контроля загазованности у компании ООО «Технологии контроля» обеспечит надежную и безопасную эксплуатацию Вашей котельной. Персонал, проводящий обслуживание системы контроля загазованности, обязательно аттестован согласно требованиям ФЗ №116 от 22.06.2007 и ПБ 12-529-03 п. 5.7.10, п. 5.7.11, копии протоколов аттестации прилагаются к договору по техническому обслуживанию. В состав работ по обслуживанию системы контроля загазованности:

– проверка срабатывания датчиков системы контроля загазованности с помощью контрольных газовый смесей с составлением актов

100.

(2)

где 0е — верхняя граница диапазона измерений массовой концентрации (объемной доли), для которого нормированы пределы допускаемой приведенной погрешности, мг/м3 (млн-1).

10.1.3 Значение основной относительной погрешности газоанализаторов %. рассчитывают по формуле

6.=£l^-100-    (3)

10.1.4 Результаты определения погрешности газоанализатора считают положительными, если полученные значения погрешности (по модулю) в каждой точке поверки не превышают пределов допускаемой погрешности, установленных при утверждении типа СИ и указанных в ЭД газоанализаторов.

10.2 По результатам измерений, полученным по 9.3.2. рассчитывают значение абсолютной, приведенной или относительной вариации показаний, в зависимости от того, какая погрешность нормирована для данной точки поверки.

10.2.1 Значение абсолютной вариации показаний ол, мг/м3 (млн-‘). рассчитывают по формуле

ид=С*-С4и,    

гдеС^. С“ — измеренное значение массовой концентрации (объемной доли) озона при подаче ГС Ns 4

при подходе к точке поверки со стороны больших и меньших значений соответственно. мг/м3 (млн-1).

6

ГОСТ Р 8.924—2016

10.2.2 Значение приведенной вариации показаний газоанализаторов иг, %. рассчитывают по формуле

и.

(5)

10.2.3 Значение относительной вариации показаний газоанализаторов , %, рассчитывают по формуле

о

100.

(6)

10.2.4 Результаты определения вариации считают положительными, если полученные значения вариации не превышают пределов допускаемой вариации показаний, установленных при утверждении типа СИ и указанных в ЭД газоанализаторов.

10.3 По результатам измерений, полученным по 9.3.3 настоящего стандарта, рассчитывают время установления показаний газоанализаторов Г. с. ло формуле

j — Г,+ Гп>    (7)

2

10.3.1 Результаты определения времени установления показаний считают попожительными. если полученное значение времени не превысило предела допускаемого времени установления пока* заний по уровню 0.9, установленного при утверждении типа СИ и указанного в ЭД газоанализаторов.

11 Оформление результатов поверки

11.1    При положительных результатах первичной или периодической поверки газоанализатор признают годным к применению и выписывают на него свидетельство о поверке установленной формы согласно [6). Рекомендуемая форма протокола поверки газоанализаторов приведена в приложении 8.

При первичной поверке до ввода в эксплуатацию допускается вместо оформления свидетельства о поверке наносить знак поверки (оттиск клейма) в паспорт газоанализатора.

При наличии соответствующих требований в ЭД газоанализатора на корпус газоанализатора наносят знак поверки (оттиск клейма), место нанесения знака поверки указано в описании типа СИ и ЭД газоанализатора.

11.2    При отрицательных результатах первичной или периодической поверки газоанализатор признают непригодным к применению, свидетельство о поверке аннулируют, выдают извещение о непригодности установленной формы согласно [6) сукаэанием причин непригодности.

7

ГОСТ Р 8.924—2016

Приложение А

(обязательное)

Метрологические характеристики ГС, используемых при поверке газоанализаторов

Таблица А.1 — Метрологические характеристики ГС. используемых при поверке газоанализаторов

Номер ГС

Номинальное значение массовой концентрации {объемной доли} озона а ГС. подаваемой на вход газоанализатора, пределы допускаемого отклонения, мг.’м1 (млн»1)

ГС N9 1

ГС Nb 2

0.0301 0.010 {0.015 1 0.005)

ГС N9 3

0.10 1 0.02 (0.0510.01)

ГС №4

(0.510.1) С.

ГС N9 5

(0.910.1) С.

Примечание — С„ —

верхняя границе диапазона измерений газоанализаторов

8

Приложение Б

(рекомендуемое)

ГОСТ Р 8.924—2016

Схемы подачи ГС на газоанализаторы при проведении поверки

6)

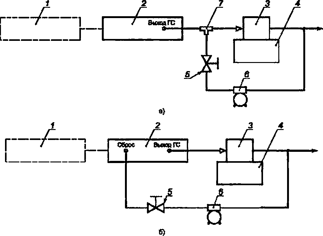
Г — генератор нулевого воздуха (используется в комплекте с калибратором тазовых смесей). ? — генератор озона или калибратор газовых смесей: 3 — поверяемый газоанализатор:^ — тройни» из фторопласта или стекла

Рисунок Б.1 — Газовая схема для подачи ГС на газоанализаторы с принудительным отбором пробы (а — для генераторов или квлибрвторов без выхода сброса излишков ГС. б — для генераторов или калибраторов с выходом сброса излишков ГС)

9

ГОСТ Р 8.924—2016

1 — генератор нулевого воздуха (используется а комплекте с калибратором газовых смесей): 2 — генератор озона или калиб-рагор газовых смесей: 3 — насадка дпя подачи ГС на поверяемый газоанализатор: 4 — поверяемый газоанализатор:

S — вентиль тонкой регулировки: 6 — вспомогательный побудитель расхода: ? — тройник из фторопласта или стекла

Рисунок Б.2 — Газовая схеме для подвчи ГС не газоанализаторы сдиффузионныы отбором пробы (а — для генераторов или калибраторов без выхода сброса излишков ГС. б — для генераторов или калибраторов с выходом сброса излишков ГС)

10

ГОСТ Р 8.924—2016

I

I

I

Требования к проектированию, монтажу (установке), наладке приборов контроля содержания СО в помещениях котельных:

• В котельных с постоянным присутствием обслуживающего персонала датчики приборов контроля устанавливаются на расстоянии 150-180 см над уровнем пола или рабочей площадки там, где пребывание оператора вероятно и продолжительно во время рабочей смены. Это место за рабочим столом в зоне дыхания у фронта котла.

• В котельных, полностью автоматизированных, обслуживание которых осуществляется периодически, датчики приборов контроля устанавливаются у входа в помещение, а сигнализация от прибора контроля выводится на пульт дежурного оператора.

• При установке приборов (сигнализаторов/газоанализаторов) в котельных залах с несплошными междуэтажными перекрытиями каждый этаж следует рассматривать как самостоятельное помещение.

• На каждые 200 м2 помещения котельного зала следует устанавливать 1 датчик к прибору контроля, но не менее 1 датчика на каждое помещение.

• Датчики приборов контроля (сигнализаторов/газоанализаторов) необходимо устанавливать не ближе 2 м от мест подачи приточного воздуха и открытых форточек. При установке датчиков следует учитывать требования инструкции завода-изготовителя по монтажу, которые должны максимально исключить отрицательное влияние на точность измерения концентрации СО от движущихся потоков воздуха, относительной влажности в помещении котельной и тепловых облучений.

• Датчики приборов контроля (сигнализаторов/газоанализаторов) от попадания на них влаги необходимо защищать установкой защитного козырька.

• В запыленных помещениях необходимо предусматривать установку датчиков с фильтрами от пыли. Периодическая очистка загрязненных фильтров должна осуществляться в порядке, предусмотренном производственной инструкцией.

• Проектами вновь строящихся котельных должна предусматриваться установка приборов контроля СО в помещениях котельных.

• Установка приборов контроля (сигнализаторов/газоанализаторов) в действующих и реконструируемых котельных должна осуществляться владельцем этой котельной в сроки, согласованные с территориальным органом Госгортехнадзора России.

На российском рынке представлен ряд отечественных и зарубежных приборов для контроля СО и СН4, в разной степени отвечающих изложенным выше требованиям.

Периодичность поверки манометров

  1. Мембранные.
  2. Спиральные.

Для того чтобы калибровка манометров была проведена с высокой эффективностью, следует уделить внимание их конструктивным особенностям. Спиральные характеризуются следующим особенностями:

  1. Внутри корпуса расположена спираль, которая связана с передающим элементам. Она изготавливается при применении специального металла с высокой упругостью.
  2. Циферблат соединен со спиралью, за счет проводится смена положения стрелки. Циферблат работает по механическому принципу, представлен шкалой со стрелкой. Как правило, на поверхности отображаются единицы измерения и другая более важная информация.
  3. При повышении давления проводится раскручивание спирали, за счет чего стрелка отклоняется в большей степени. От размеров этого элемента зависит диапазон, в котором могут проводится измерения.

Мембранные варианты исполнения функционируют за счет плоской пластины, которая связана с передающим элементом. При повышении давления мембрана прогибается в большей степени, за счет чего стрелка смещается.

Периодичность проведения поверки зависит от самых различных моментов, в том числе области применения устройства. В некоторых случаях нужно проводить процедуру один раз в год, в других на протяжении 5 лет. Входной контроль проводят многие организации с выездом на объект, так как в некоторых случаях процедуру должен проводить сертифицированный специалист и с учетом предъявляемого требования к обработке.

За счет этого точность показаний манометра находятся на высоком уровне.

Сегодня госповерку проводят при контроле состояния измерительных приборов ответственных систем. Расшифровываются полученные данные самым различным образом, поэтому процедура проводится исключительно специалистом.

Обслуживание датчиков загазованности. Требования к обслуживанию, ремонту, поверке сигнализаторов загазованности (поверке газосигнализаторов, поверке газоанализаторов).

• Обслуживание и ремонт приборов контроля проводятся в порядке и в сроки, предусмотренные технической документацией завода-изготовителя на эти приборы.

• Тестирование и проверки приборов должны осуществляться по методике завода-изготовителя.

• Один раз в год необходимо осуществлять государственную поверку газосигнализаторов, газоанализаторов, сигнализаторов контрольными смесями на уровнях срабатывания. В том числе должна производится поверка датчика угарного газа и поверка датчика метана.

• Ремонт и обслуживание приборов контроля должны осуществляться обученным персоналом, прошедшим аттестацию в квалификационной комиссии специализированной организации или завода-изготовителя. Участие представителя органа Ростехнадзора России в работе комиссии по аттестации названного персонала не обязательно.

• По окончании срока службы прибора (датчика) контроля загазованности проводится его диагностика в целях установления возможности дальнейшей эксплуатации или замены.

• Персонал котельной должен ежесменно удостоверяться в работоспособности приборов контроля с отметкой в вахтенном журнале.

Многие предприятия, эксплуатирующие топливоиспользующее тепловое оборудование, уже на стадии проекта требуют наличия в цехе достаточного количества сигнализаторов на СО и СН4 для гарантии безопасности работы агрегатов и обслуживающего персонала.

Датчик загазованности, газосигнализатор, газоанализатор, сигнализатор токсичных газов, сигнализатор горючих газов, обслуживание датчиков загазованности.

Вполне вероятно, что вы сталкивались с государственным контролем за газовыми приборами. Возможно, вы предприниматель, и для вас имеют значение даже самые незначительные аспекты, связанные с расходами? Мы полагаем, что правила поверки газоанализаторов знает очень малое количество населения, а между тем, неудачно выбранный прибор в итоге обойдется в десятки тысяч рублей переплаты.

Мы попытались собрать всю полезную информацию воедино. Речь идет о всех ключевых моментах: нормах, периодичности, этапах поверок. Вы основательно подойдете к выбору газоанализатора, если прочтете изложенный нами материал.

Анализаторы газа подпадают под государственное регулирование, так как обеспечивают безопасность на объектах из разных сфер деятельности человека. Касается это в первую очередь поверок, которые выполняют, чтобы убедиться в соответствии метрологическим характеристикам. Давайте вместе разберемся, как проводятся поверочные мероприятия.

В чем суть методики поверочных работ?

Методика поверки представляет собой документ с подробно описанными операциями для подтверждения годности газоанализатора. Для разных марок и моделей подход отличается.

Выдержка из методики для газоанализаторов моделей 1800, 1900, 2200, 5100, 5200 компании Servomex Group Limited: первый пункт — операции поверки

В документ обычно включают 7 пунктов:

  1. Операции поверки. Речь идет о главных показателях, включая погрешности.
  2. Средства. К ним относят приборы и газовые смеси для опробования и определения метрологических характеристик.
  3. Требования безопасности.
  4. Условия для проведения.
  5. Подготовка.
  6. Проведение.
  7. Оформление результатов поверки. На этом этапе поверяющий составляет протокол и выдает документ-свидетельство.

Непосредственно поверку начинают с того, что присоединяют баллон с поверочным газом к вентилю регулировки. Потом к выходу подводят ротаметр. Последний присоединяют с адаптером для поверочных работ. Смесь затем пускают на вход газоанализатора, и когда прибор даст показания, их фиксируют.

Специалист рассчитает погрешность и определит время, которое ушло на установление показаний. Поверяющий сравнит показатели с нормативами и оформит результаты.

3.1 . Требования к организации калибровочных работ

3.1.1 . Метрологическая служба для организации и проведениякалибровочных
работ должна располагать:

средствами
калибровки;

документацией
на калибровку;

персоналом;

помещениями.

3.1.2 . К средствам калибровки предъявляются
следующие требования.

Метрологическая
служба должна иметь средства калибровки, отвечающие требованиям нормативных
документов по калибровке и соответствующие области аккредитации.

Средства
калибровки должны содержаться в условиях, обеспечивающих их сохранность и
защиту от повреждений.

Потребность
метрологических служб (калибровочных лабораторий) в средствах калибровки
определяется по МИ 2314-94.

3.1.3 . К документации на калибровку
предъявляются следующие требования.

Метрологическая
служба должна иметь актуализированную документацию, включающую:

положение
о метрологической службе (калибровочной лаборатории);

аттестат
аккредитации на право проведения калибровочных работ;

должностные
инструкции;

графики
поверки средств калибровки;

графики
калибровки средств измерений;

нормативно-технические
документы на калибровку (поверку, методики, инструкции, методические указания и
т.д.);

техническое
описание и инструкции по эксплуатации на средства калибровки и средства измерений;

паспорт
на средства измерений и средства калибровки;

документы,
определяющие порядок учета и хранения информации и результатов калибровки
(протоколы, рабочие журналы, отчеты и т.п.);

документы
об образовании и аттестации специалистов, выполняющих калибровку средств
измерений (дипломы, свидетельства, сертификаты, удостоверения);

акты
о состоянии производственных помещений.

Метрологическая
служба должна иметь систему обеспечения качества, соответствующую ее
деятельности в области калибровки и объему выполняемых работ. Форма
«Руководства по качеству» приведена в приложении 3.

3.1.4 . К персоналу калибровочных лабораторий
предъявляются следующие требования.

Специалисты
метрологической службы должны иметь профессиональную подготовку и опыт
калибровки средств измерений в заявленной области аккредитации.

Для
каждого специалиста должны устанавливаться функции, обязанности, права и
ответственность, требования к образованию, техническим знаниям и опыту работы,
что должно быть отражено в должностной инструкции.

Специалист,
выполняющий калибровку средств измерений, должен быть аттестован в порядке,
установленном в электроэнергетике.

Подготовка
и аттестация персонала должна осуществляться в соответствии с требованиями РД
34.11.112-96.

3.1.5 . К помещениям калибровочных лабораторий
предъявляются следующие требования.

Помещения
должны соответствовать по производственной площади, состоянию и обеспечиваемым
в них условиям требованиям применяемых нормативно-технических документов по
калибровке, санитарным нормам и правилам, требованиям безопасности труда и
охраны окружающей среды.

Потребность
метрологических служб (калибровочных лабораторий) в производственных площадях
определяется по МИ 670-84.

При
размещении калибровочного оборудования рекомендуется соблюдать следующие нормы:
ширина прохода — не менее 1,5 м; ширина незанятого пространства около отдельных
калибровочных установок (комплектов средств поверки) или стационарных их
элементов — не менее 1 м; расстояние от шкафов и столов со средствами измерений
или калибровки до отопительных систем — не менее 0,2 м; расстояние между
рабочими столами, если за столом работает один калибровщик, — не менее 0,8 м, а
если два — не менее 1,5 м.

Коэффициент
естественной освещенности на поверхности стола калибровщика допускается в
пределах 1,00 — 1,50. Освещенность на уровне рабочего места не должна быть
менее 300 лк.

Операции,
связанные с применением агрессивных, токсичных или взрывоопасных веществ или с
подготовкой средств измерений к калибровке (расконсервацией, очисткой и т.п.) и
сопровождаемые загрязнением воздуха или огнеопасными выделениями, рекомендуется
производить в отдельных изолированных помещениях.

Поверка газовых анализаторов в России

Измерительные приборы, подпадающие под государственный надзор, осматривают на соответствие метрологическим характеристикам. Простым гражданам и предпринимателям следует знать, что с 2008 года деятельность в этой сфере регламентирует Федеральный закон № 102 «Об обеспечении единства измерений». Газовый анализатор или другое устройство учета поверяют с определенной частотой, обычно 1 раз в год.

Подготовка к поверке газового измерителя

Поверочные газовые смеси (ПГС) в баллонах выдерживают в течение суток в помещении для поверки. Сам газоанализатор хранят там по крайней мере 2 часа. Одновременно готовят средства осмотра, о чем идет речь в эксплуатационной документации.

Исходя из документов и руководства по эксплуатации конкретного изделия, проверяют комплектацию анализатора, после чего устройство готовят к работе. Подготовительные меры — составляющая методики поверки для любого вида газоанализатора, в технической документации она соответствует 5-му пункту.

Поверочные газовые смеси есть в большом разнообразии на рынке, но для поверочных работ используют только государственные стандартные образцы (ГСО)

Суть поверки сводится к тому, что ПГС пропускают через газоанализирующее оборудование с нужной скоростью. При количестве баллонов больше чем 1 применяют многоходовый кран. Состав переключают простым поворотом крана.

Последовательность осмотра оборудования

Поверку начинают с внешнего осмотра, и во внимание берут видимые проблемы и повреждения. Смотрят также на четкость надписей на передней панели, состояние резьбы на штуцерах

По инструкции на конкретный газоанализатор проводят проверку на исправность.

В процессе газовая смесь будет проходить через редуктор и попадать в линию к датчику. Проверка подойдет к логическому завершению, когда специалист определит основные показатели метрологических характеристик: погрешности в измерениях, а также вариации показателей при разном содержании газов.

Поверяющая организация выдаст свидетельство или оставит на устройстве клеймо. Из-за особенности конструкции некоторых газоанализаторов отметку порой ставят прямо на бумажный документ.

Различают 5 видов поверки:

  • первичная;
  • периодическая;
  • внеочередная;
  • инспекционная;
  • экспертная.

Первичную реализуют перед началом эксплуатирования анализатора. Также после ремонта владельцам придется повторить процедуру.

Периодические проверки выполняют по плану. Графики указывают в документации, а составляют эти расписания метрологические службы предприятий. После того как план одобрит Росстандарт, его еще должен будет утвердить руководитель фирмы.

Для проведения поверки обращаются также в частные компании: последние идут навстречу по разным вопросам, а их данные могут пригодиться в спорных ситуациях

Внеочередная поверка понадобится в случае утери документа об осмотре оборудования, повреждениях или длительном простое устройства.

Также газовые анализаторы подлежат инспекционному осмотру. Это означает визит в рамках государственного метрологического надзора.

При разногласиях по метрологическим характеристикам прибегают к экспертной поверке. Ее может назначить прокуратура или суд, но иногда достаточно желания потребителя.

Нормативные ориентиры при поверке газоанализаторов

Приборы должны корректно работать при радиопомехах со значениями в пределах Норм 1-72-9-72. Что касается показателей самих газоанализаторов, то подпадать под нормирование при потребности может не только расход, но и скорость потока вместо него. Основную погрешность в случае чего заменяют на случайную и систематическую составляющие.

Метрологические нормы устанавливают в технических или стандартных условиях на определенный газоанализатор, в зависимости от сферы применения и с указанием условий для поверочных работ по ГОСТ 8.401-80. В нормальных условиях разность между крайними значениями измерений для допустимой основной погрешности выделяют в пределах 25 %.

Требования к поверке манометров

Для сверки основных параметров измерительного прибора следует уделять внимание основным требованиям, которые предъявляются к проведению рассматриваемой процедуры. К ним можно отнести следующие моменты:

  1. Перед непосредственной проверкой следует предоставить документы, которые подтверждают прохождение этой процедуры ранее. Результаты, которые были получены ранее, также могут потребоваться при очередной поверке. Некоторые компании не проводят рассматриваемую процедуру в случае отсутствия соответствующего документа.
  2. Если устройство является частью ответственного механизма, то оно должно иметь пломбу. В противном случае механизм не может применяться по предназначению.
  3. В зависимости от давления в системе подбирается наиболее подходящее оборудование. Наиболее важными параметрами можно назвать диапазон измерений, а также область применения устройства.
  4. Данные с применяемого устройства должны хорошо считываться. Для этого выбираются наиболее оптимальные условия работы.
  5. Установка манометра должна проводится исключительно с соблюдением всех мер безопасности. Довольно распространенной ошибкой можно назвать снижение прочности соединения. При подаче сильного давления может появиться утечка, которая снизит давление в системе.

Все установленные нормы учитываются специалистом, который проводит поверку устройства. Если не учитывать требование, то состояние конструкции нельзя будет проверить с высокой точностью.

Выводы и полезное видео по теме

Обзор бытового газоанализатора, подключение, принцип действия, тестирование:

Поверка анализаторов газа и сигнализаторов загазованности с помощью современного оборудования:

Сами поверки не вызовут организационных сложностей, тем более если вопросам безопасности уделяли должное внимание. Устройство для определения состава газа признают годным после того, как основная и абсолютная погрешности окажутся приемлемыми

Вполне возможно, что сроки для поверки газоанализатора станут проблемным моментом. Потребителю следует добиваться годичного интервала вместо необоснованно короткого периода. Неудовлетворительный результат по метрологическим характеристикам тоже можно оспорить.

Оставляйте свои комментарии, задавайте вопросы по теме статьи, делитесь опытом и обменивайтесь полезной информацией. Форма для связи расположена под статьей.

Поделитесь в социальных сетях:FacebookXВКонтакте
Напишите комментарий